91视频最新网站,91视频最新网址,成人91视频APP,91视频黄片免费



language 中文简体 中文繁体 English 目录在线 目录下载 收藏91视频最新网站在线留言站点地图

91视频最新网站电机散热风扇厂家专注如AC91视频黄片免费,DC直流散热风机生产
深圳工厂:0755-28035670业务专线:13603004952

台湾91视频最新网站 - 32年散热风扇研发制造工厂

Taiwan SANJU Electric

深圳市91视频最新网站电机有限公司

聚焦91视频最新网站,了解更多风扇知识

​电脑主机的遥控散热风扇

返回列表 发布日期: Aug 12, 2019

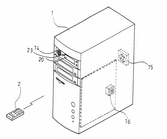
本文涉及电脑主机的散热风扇,尤指一种可由外部遥控且能依据不同温度的变化自动调控风扇转速的电脑主机的遥控散热风扇。

一般电脑的主机为使工作时产生的热量得以散发,通常于机壳内设有一个或一个以上的散热风扇,当电脑工作时可将机壳内的温度降低,以保持电脑的正常运作,由于电脑主机的风扇均采用固定式设计,无法随温度变化调控其不同的转速,更无法由外部予以操控。因此,习知风扇于电脑开机后只能不停的转动,不但耗电且可能因持续高速运转而降低其使用寿命,确实不够理想。

本文的主要目的,在于提供一种电脑主机的遥控散热风扇,其可由外部操控,依据其内部温度的变化合理调控风扇的转速,可使风扇更省电、且可降低风扇燥音、提高其使用寿命。

散热风扇

为达上述目的,本文的一种电脑主机的遥控散热风扇,主要在电脑主机内设有一微处理器,该微处理器分别连接于转速捡知控制回路及速度控制回路,该等回路连接于不同的系统风扇及CPU风扇;该微处理器还连接有一LCD显示器;其特征在于:

该微处理器又连接一外部遥控器及一遥控控制装置,由一外部遥控器发射信号、由遥控控制装置接收信号后,自动调控各风扇的启闭及转速。其中:所述微处理器又连接有一A/D转换器及一CPU温度感知电路,由该感知电路侦测CPU的温度变化,依该温度变化而自动调控各散热风扇的转速。

微处理器还连接一按键、一LCD驱动回路及一-LCD显示器,而LCD显示器设于电脑主机的机壳前方,且可由外置按键设定散热风扇的动作。

由于该微处理器连接一外部遥控器及一遥控控制装置,并由一外部遥控器发射信号、该遥控控制装置接收信号,故可自动调控各散热风扇的启闭及转速,使电脑主机更具实用性及更具人性化。

另,该电脑主机的遥控风扇还连接有一A/D转换器及一CPU温度感知电路,由该感知电路侦测CPU的温度变化,依该温度变化可自动调控各散热风扇的转速,使电脑主机更省电,且可提高散热风扇的使用寿命。

又,该电脑主机的遥控散热风扇的微处理器连接一按键、一LCD驱动回路及一LCD显示器,而LCD显示 器设于电脑主机的机壳前方,除了可观视其温度的变化、各风扇的转速外,还可由外置按键设定散热风扇的动作,使整个电脑主机更具实用性。



关闭

微信公众号

咨询热线
+86-755-2803-5670
在线客服
top
网站地图