本文涉及风量测量装置,特别涉及一种电脑散热风扇风量测量装置。
现今,电脑已经广泛应用于人们的生活、工作及学习等各个领域之中,其重要性不言而喻。众所周知,高温是影响电脑稳定性一个十分关键的因素,尤其对于设备频率较高的电脑,散热工作在夏天显得特别重要。
目前的系统散热风扇被固定在电脑中以后,系统散热风扇在电脑系统中的工作状态即无法得知,即无法得知系统散热风扇在运行过程中的风量,这样就不利于评估系统风扇的I作效能。
鉴于以上内容,有必要提供一种电脑散热风扇风量测量装置,以方便测量电脑散热风扇的风量。一种电脑散热风扇风量测量装置,包括一导流罩及一固定环,所述导流罩及固定环中心均对应设有一开孔,所述固定环上还设有至少一热线风速探头,所述热线风速探头的探测端伸入所述固定环的开孔中,所述导流罩与所述固定环紧配合。

一种电脑风扇风量测量装置,包括一导流罩、一基架及一固定环,所述导流罩、基架及固定环中心均对应设有一开孔,所述导流罩及固定环分别设于所述基架两侧,所述固定环上:还设有至少一热线风速探头,所述热线风速探头的探测端伸入所述固定环的开孔中。
上述电脑散热风扇测量架可放置于电脑系统风扇出口处,利用导流罩使系统散热风扇排风经过热线风速探头,配合风速测量仪即可量取电脑散热风扇的风量,方便了电脑散热风扇效能评估。
下面结合附图及较佳实施方式对本文作进一步详细描述:
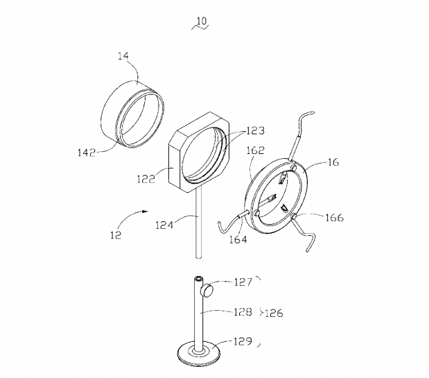
图I是本文电脑散热风扇风呈测量装置较佳实施方式的立体分解图。
图2是本文电脑散热风扇风量测量装置较佳实施方式的立体组装图。
图3是本文电脑散热风扇风量测量装置另一较佳实施方式的立体图。
具体实施方式
参考图1及图2,“一种电脑风扇风量测量装置10,包括一基架12、设于所述基架12一侧的一圆形 导流罩14及设于所述基架12另一侧的一圆形固定环16,所述基架12、导流罩14及固定环16中心均对应设有一圆形开孔。
所述基架12包括一方形主体122、从所述主体122一端向下垂直延伸的一支杆124及一支撑架126,所述支撑架126包括一圆形底盘129、从所述底盘129向上垂直延伸的一中空杆体128以及设于所述中空杆体128侧面的一调节螺丝127,所述支杆124可插入所述中空杆体128中,其伸入程度由所述调节螺丝127控制。
所述导流罩14及所述固定环16一侧分别设有一配合部142和162,所述基架12的主体122两侧对应所述配合部142和162设有两容置部123,所述配合部142及162与所述容置部123紧配合,从而将所述导流罩14及固定环16与装设于所述基架12的主体122上。
所述固定环16上设有三个热线风速探头164,所述热线风速探头164均匀排布于所述固定环16上并分别将其探测端伸入所述固定环16的开孔中,所述固定环16的侧面对应所述热线风速探头164设有三个紧固螺丝166,所述紧固螺丝166用来固定所述热线风速探头164。
进行风量测量时,只需将所述电脑风扇风量测量装置10的导流罩14对准一电脑风扇的出口处,使系统风扇排风经过所述热线风速探头164,用一风速测量仪分别量取所述热线风速探头164上的数值后通过计算即可获得电脑风扇的平均风速,从而得到电脑风扇的风量。
继续参考图3,在本文的另一个较佳实施方式中,一电脑风扇风量测量装置20包括所述圆形导流罩14及所述圆形固定环16,所述导流罩14一侧设有一配合部,所述固定环16一侧对应所述配合部设有一容置部,所述配合部及所述容置部紧配合,所述导流罩14另一侧设有一磁性材料涂层,所述导流罩14可吸附于所述电脑风扇的出口处,借此,运用一风速测量仪分别量取所述热线风速探头164上的数值即可获得电脑风扇的平均风速,从而得到电脑风扇的风量。